หลังจากที่ Apple เปิดตัว 2 Gadget ใหม่ที่เรียกไดว่าน่าสนใจและเปลี่ยนแนวทางพอสมควรอย่าง Apple Watch และ AirPods ที่เน้นความเป็นอุปกรณ์พกพามากขึ้น แต่ว่าอาจจะยังดีไม่พอเลยทำให้ Apple พัฒนาเพิ่มเติมจนเป็นการหลุดสิทธิบัตรอีกครั้ง

ซึ่งคาดว่า Apple กำลังพัฒนาเคสของ AirPods รุ่นต่อไปให้สามารป้องกันน้ำได้ และมีการรองรับเรื่องช่องของการชาร์จในวัสดแปลกใหม่เพื่อให้ชาร์จกับ iPhone ได้นั่นเอง

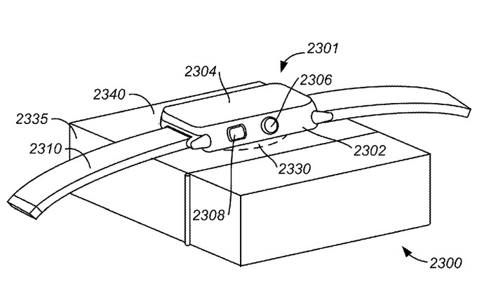
ส่วน Apple Watch เองก็จะมีการพัฒนาให้รองรับระบบ ชาร์จไฟไร้สายซึ่งคาดว่าจะใส่ใน iPhone 8 ด้วยเช่นกัน ทั้งหมดนี้แม้ว่า Apple จะยังไม่ยืนยันว่าจะเผยเทคโนโลยีเลยหรือไม่แต่ก็เป็นอีกสิ่งที่น่าตื่นเต้นและจับตามองเป็นอย่างยิ่งเลยก็ว่าได้

Via Phonearena