เรียกว่าตอนนี้ฝั่ง Android คึกคักด้วยสมาร์ทโฟนจอพับได้ ทางฝั่ง Apple เองก็เริ่มมีข่าวลือว่า เริ่มคุยกับ Samsung Display เพื่อผลิตหน้าจอให้กับอุปกรณ์ของตัวเอง

ล่าสุดมีรายงานจาก ET News อ้างอิงจากแหล่งข่าวในอุตสาหกรรมว่า ทาง Samsung Display น่าจะเป็นผู้ผลิตจอรายหลักให้กับ Apple เพื่อนำมาใช้กับอุปกรณ์จอพับได้ ซึ่งจอนี้คาดว่าจะมีขนาด 7.2 นิ้ว ซึ่งถือว่าเล็กกว่า Galaxy Fold ที่กางออกมาแล้วมีขนาดอยู่ที่ 7.3 นิ้ว
เมื่อเดือนที่ผ่านมา ทางนักวิเคราะห์รายงานว่าทางซัมซุงอาจจะระงับไม่ขายเทคโนโลยีจอพับได้ให้กับ Apple เพื่อที่จะสงวนหน้าจอนี้เอาไว้ใช้กับ Galaxy Fold เท่านั้น แต่มาสัปดาห์นี้มีรายงานใหม่ว่าทาง Samsung Display เปลี่ยนใจ จะมารับหน้าที่ผลิตทั้งจอพับได้และจอ OLED รุ่นปกติให้กับแอปเปิ้ล ซึ่งปัจจุบันทาง Samsung ผลิตจอ OLED เพื่อนำไปใช้กับ iPhone XS และ iPhone XS Max
เมื่อมีข่าวนี้ออกมา ทาง LetsGoDigital ก็เลยจินตนาการว่า iPad จอพับได้นั้นจะมีหน้าตาอย่างไร จากนั้นก็ทำเป็นภาพเรนเดอร์สามมิติออกมาให้เห็นการใช้งานโดยรวม เมื่อกางตัวเครื่องออกมาก็จะเป็น workstation สำหรับการใช้งานจริงจัง เมื่อพับแล้วก็จะกลายเป็นอุปกรณ์พกพา ใช้งานระหว่างเดินทางได้อย่างง่ายดาย

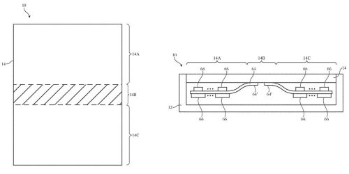
ส่วนความคืบหน้าอื่นๆของมือถือพับได้จากฝั่ง Apple นั้นก็มีสัปดาห์ก่อนที่มีสิทธิบัตรเผยแพร่ออกมา โดยดีไซน์นั้นจะเป็นแบบพับกลางเครื่อง พร้อมกลไกพับจอซ่อนอยู่ตรงกลาง
ข่าวลือก่อนหน้านี้บอกว่าทาง Apple ตั้งเป้าที่จะเปิดตัวมือถือพับได้ในปี 2020 ซึ่งถือว่าช้ากว่าผู้ผลิตรายอื่นๆ อันนี้ก็ต้องมารอดูว่าจะมีไม้เด็ดอะไรที่จะทำให้เหนือกว่าแบรนด์อื่นๆได้
VIA 9to5mac