Samsung Galaxy X สมาร์ทโฟนที่หลายคนจับตา เพราะจะเป็นรุ่นแรกของ Samsung ที่มาพร้อมจอพับได้ ล่าสุดทางนักวิเคราะห์ได้ออกมาคาดว่าราคาขายนั้นเฉียด 60,000 บาทเลยทีเดียว

Galaxy X
นักวิเคราะห์จากเกาหลีใต้ได้ออกมาคาดการณ์ราคาขายของ Galaxy X สมาร์ทโฟนจอพับได้จากฮาร์ดแวร์ที่ใช้ ต้องบอกว่าราคาขายต่อเครื่องนั้นสูงปรี๊ดทีเดียว ทาง Kim Jang-yeol นักวิเคราะห์จากบริษัทลงทุน Golden Bridge Investment คำนวณราคาขายของ Galaxy X ว่าจะอยู่ที่ราวๆ 2 ล้านวอนหรือประมาณเกือบๆ 60,000 บาทซึ่งราคานี้จะเป็นราคาเครื่องเปล่าแบบไม่ติดสัญญา
ส่วน Park Hyung-woo นักวิเคราะห์จาก SK รายงานว่า “ผู้ผลิตชิ้นส่วนจะเริ่มส่งชิ้นส่วนล็อตแรกในช่วงต้นเดือนพฤศจิกายน หลังจากนั้นก็จะเริ่มประกอบเครื่องโดยตั้งเป้าเปิดตัวในปีหน้า”
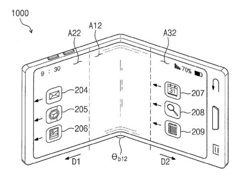
ตัวเครื่องจะใช้งานได้ 2 โหมดคือ โหมดพับครึ่งจะเป็นมือถือสำหรับใช้งานมือเดียว หน้าจอจะมีขนาดอยู่ที่ 4.5 นิ้ว โหมดที่สองคือแท็บเล็ต กางออกมาก็จะมีขนาด 7.3 นิ้ว ด้วยดีไซน์แบบนี้จะทำให้เราไม่ต้องพกอุปกรณ์หลากเครื่อง สามารถปรับเปลี่ยนรูปแบบได้ตามการใช้งาน ซึ่งมันกำลังเป็นเทรนด์ใหม่ที่ทางค่ายมือถือต่างๆกำลังซุ่มพัฒนาอยู่ ก็ต้องมารอดูกันว่าออกมาแล้วคนจะให้การตอบรับมากแค่ไหน
VIA Slashgear