มาลองดูดีไซน์ที่น่าจะเป็นของ Galaxy X มือถือจอพับได้
ถือเป็นสมาร์ทโฟนอีกหนึ่งรุ่นที่คาดว่าจะเปิดตัวในปีหน้ากับ Galaxy X ที่จะเปิดตลาดใหม่สมาร์ทโฟนจอพับได้ หลายคนคงอยากรู้แล้วสิว่าตัวจริงจะออกมาในดีไซน์แบ…
ถือเป็นสมาร์ทโฟนอีกหนึ่งรุ่นที่คาดว่าจะเปิดตัวในปีหน้ากับ Galaxy X ที่จะเปิดตลาดใหม่สมาร์ทโฟนจอพับได้ หลายคนคงอยากรู้แล้วสิว่าตัวจริงจะออกมาในดีไซน์แบ…
Samsung Galaxy X สมาร์ทโฟนที่หลายคนจับตา เพราะจะเป็นรุ่นแรกของ Samsung ที่มาพร้อมจอพับได้ ล่าสุดทางนักวิเคราะห์ได้ออกมาคาดว่าราคาขายนั้นเฉียด 60,000 บา…
ตอนนี้ค่ายมือถือต่างก็พุ่งเป้าไปที่มือถือจอพับได้ ล่าสุดสื่อเกาหลียืนยันว่า Samsung จะเปิดตัวสมาร์ทโฟนจอพับได้ในปีหน้าGalaxy X หลังจากเมื่อช…
ตอนนี้ค่ายมือถือต่างๆก็เริ่มหันมาจับกระแสสมาร์ทโฟนจอพับได้กันมากขึ้น ไม่ว่าจะเป็นซัมซุง,ZTE หรือ Huawei รวมถึงค่ายล่าสุดอย่าง OppoOPPO ล่าสุดได้…
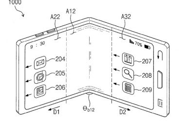
หลังจากที่ผู้บริหาร Samsung กำลังพัฒนามือถือจอพับได้อยู่ ล่าสุดมีสิทธธิบัตรหลุดออกมาบอกใบ้ให้รู่ว่าจะมีหน้าตายังไง Galaxy X จากข้อมูลที่หลุดมาถึงตอนน…
ดูเหมือนว่าเทรนด์สมาร์ทโฟนปีหน้า กำลังมุ่งสู่มือถือจอพับได้ ค่ายล่าสุดที่อาจจะเปิดตัวในปีหน้าก็คือ Huawei ที่เล็งออกในปีหน้าHuawei ในช่วงหลายปีท…