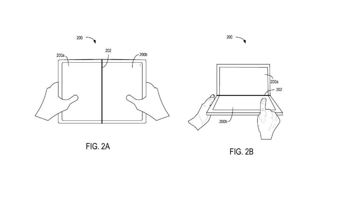
หลังจากที่มีข่าวเรื่อง Samsung จะทำมือถือจอพับได้ออกมาเป็นสิทธิบัตรและคาดว่าจะทำได้จริง แต่ยังไม่มีความเคลื่อนไหวจากค่ายอื่น แต่ล่าสุดค่ายที่เปิดเผยสิทธิบัตรอุปกรณ์จอพับได้อีกค่ายนั้นคือ Microsoft

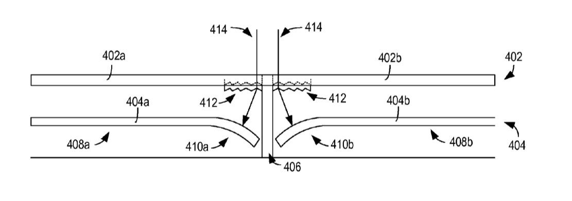
ในสิทธิบัตรดังกล่าวจะประกอบไปด้วยหน้าจอที่โปร่งแสง Transparent outer layer โดยมีทั้งชั้นแสดงผล และมีส่วนของพับหน้าจอที่จะเป็นส่วนโค้ง ซึ่งจะทำให้หน้าจอนั้นสามารถพับได้ ซึ่งเมื่อใช้งานจริงอาจจะแสดงผลได้ทั้ง 2 ด้าน แต่ก็ยังมีอีกวัสดุคือการป้องกันไม่ให้มองเห็นจากอีกฝั่งหนึ่ง

ซึ่งที่จริงสิทธิบัตรนี้จดมาตั้งแต่ปี 2015 แล้วแต่เพิ่งมีการเผยแพร่ เพราะคาดว่าจะอยู่ในมือถืออย่าง Microsoft Surface Phone ที่หลายคนคาดเดา แต่มันจะจริงหรือไม่ ต้องจับตาดูกันต่อไป
Via Windows Central