ก่อนหน้านี้มือถือกล้องคู่นั้นหลายคนต้องพูดถึง iPhone 7 Plus, LG G6 และ Huawei P10 ซึ่งออกมาก่อนและมีความโดดดังในงาน Mobile World Congress 2017 ที่ผ่านมา แต่ล่าสุดนี้ Samsung ก็มีสิทธิบัตรของกล้องคู่หลุดออกมาแล้ว

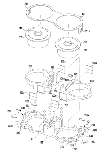
ลักษณะของกล้องคู่ด้านหลังจาก Samsung อาจจะมีชิ้นส่วนเยอะ แต่จุดประสงค์เน้นเรื่องความบางและคาดว่าจะถ่ายภาพในที่แสงน้อยได้ดี พร้อมกับฟีเจอร์ใหม่คือการถ่ายภาพแบบ 3D ได้

ทั้งหมดนี้ยังไม่รู้ว่าจะใช้ในมือถือรุ่นไหนก่อนตัวแรก ซึ่งมีความเป็นไปได้ว่า Samsung Galaxy Note 8 อาจจะได้ใช้ แต่ถ้ไม่ล่ะก็จะเจอกันใน Galaxy S9 อีกทีเลยก็เป็นได้ ทั้งหมดต้องรอลุ้นกันต่อไป