ใครที่ติดตามข่าว Galaxy X ของซัมซุงตอนนี้มีข่าวว่าอาจจะเปิดตัวในงาน MWC 2019 โดยจุดเด่นอยู่ที่การใช้ประโยชน์จากจอ OLED ยืดหยุ่นอย่างเต็มที่

ก่อนห้านี้หลายคนคิดว่าสมาร์ทโฟนพับได้จะเห็นได้แค่ในหนังไซไฟเท่านั้น แต่วันนี้มันใกล้จะเป็นจริงให้เราได้ใช้งานขึ้นทุกที่เพราะหลายผู้ผลิตสมาร์ทโฟนกำลังซุ่มพัฒนากันอย่างเต็มที่ โดยรูปทรงนั้นจะใกล้เคียงกันคือ พับตรงกลางเครื่อง กางออกมาเป็นจอใหญ่ใช้งานได้ ทาง Samsung เองก็ดูเหมือนว่าการพัฒนานั้นเป็นไปได้เร็วกว่าใคร เพราะมี Samsung Display ในการวิจัยและพัฒนาหน้าจอของตัวเอง แต่ในช่วงแรกนั้นการผลิตยังมีขีดจำกัดจึงทำให้ราคายังสูงอยู่
ล่าสุดทาง The Bell สื่อจากเกาหลีรายงานว่า ทาง Samsung ได้เปลี่ยนชื่อรหัสโครงการนี้จาก “Valley” มาเป็น “Winner” แทน คาดว่าการเปลี่ยนชื่อนี้เนื่องจากเป็นช่วงเปลี่ยนผ่านจากการพัฒนาเชิงทฤษฎีมาสู่กระบวนการผลิตจริง

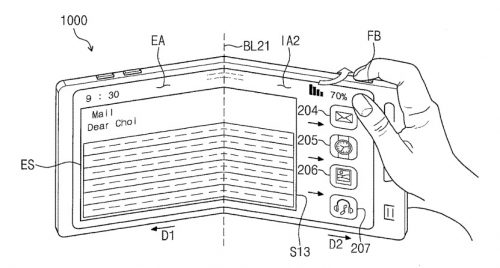
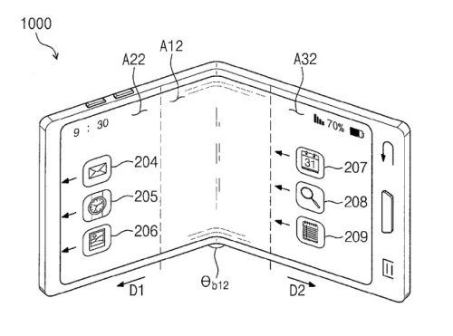
ส่วนเรื่องของดีไซน์ของตัวเครื่องนั้นทางซัมซุงเองก็จดสิทธิบัตรเอาไว้หลายแบบมากคาดว่าแบบพับครึ่งตรงกลางน่าจะมีความเป็นไปได้มากที่สุด ตัวเครื่องต้นแบบนั้นจะใช้จอ OLED ทั้งหมด 3 จอ แต่ละจอมีขนาด 3.5 นิ้วหรือเท่ากับขนาดจอ iPhone รุ่นแรก โดยสองจอจะเชื่อมต่อกันกางออกมากลายเป็นจอใหญ่ขนาด 7 นิ้ว ส่วนอีกจอจะอยู่ด้านหลังสำหรับใช้งานเป็นจอหลักตอนที่ถูกพับ
ตอนนี้ยังไม่มีใครรู้ว่าสมาร์ทโฟนจอพับได้จะเริ่มเข้าสู่การผลิตเมื่อไหร่แต่คาดว่าน่าจะเป็นช่วงเดือนพฤศจิกายนนี้ได้เร็วสุด ซึ่งจำนวนที่ผลิตล็อตแรกนั้นจะมีจำนวนไม่มาก เนื่องจากความยากในการผลิต นอกจากนั้นยังเป็นการลองตลาดว่าผู้ใช้จะให้การตอบรับดีแค่ไหน ส่วนค่ายคู่แข่งอย่าง Huawei เองก็กำลังซุ่มพัฒนามือถือพับได้เหมือนกันก็ต้องมารอดูว่าจะเปิดตัวทันในปีนี้รึเปล่า
VIA Slashgear