ต่อไป S-Pen บน Galaxy Note จะทำการอัพเกรดความสามารถขึ้นไปจนเราคาดไม่ถึง ล่าสุดมีการค้นพบสิทธิบัตรใหม่ที่จะทำให้มันกลายเป็นกล้องถ่ายภาพ

S-Pen

ต้องบอกว่าปากกา S-Pen นั้นสร้างความแตกต่างให้กับสมาร์ทโฟนตระกูล Galaxy Note ได้อย่างโดนเด่น ซึ่งแต่ละปีทางซัมซุงเองก็พยายามเพิ่มนวัตกรรมใหม่ๆใส่เข้าไป อย่างใน Note 9 นั้นจะเพิ่มการเชื่อมต่อบลูทูธกับมือถือ เพื่อใช้งานเป็นรีโมทคอนโทรลได้ แถมเวลาเก็บก็จะทำการชาร์แบตเตอรี่ไปในตัว

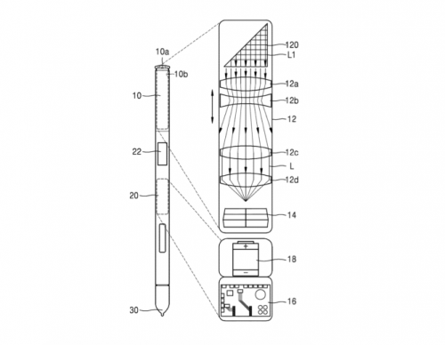
มาวันนี้ก็มีการพบสิทธิบัตรฉบับใหม่ที่ทางซัมซุงยื่นจดกับ USPTO แสดงให้เห็นถึงการฝังเลนส์เข้าไปในตัวด้ามปากกา ซึ่งมีความเป็นไปได้สูงมากว่า ทางซัมซุงอาจจะย้ายกล้องหน้าบนมือถือมาอยู่ในปากกาแทน เพื่อจะได้หลีกเลี่ยงจากใช้รอยแหว่งหรือจอรูหน้าจอในตำแหน่งกล้องหน้า เพื่อทำให้หน้าจอไร้สิ่งกวนใจอย่างสมบูรณ์

S-Pen

ข้อมูลในสิทธิบัตร เราจะเห็นว่าทางซัมซุงเลือกใช้ชิ้นเลนส์หลายชิ้นเพื่อทำให้ภาพที่ถ่ายได้มีคุณภาพมากกว่าการใช้ดิจิทัลซูม แน่นอนว่าเซ็นเซอร์ถ่ายภาพนี้สามารถกดควบคุมจากปุ่มที่อยู่ภายนอกปากกาได้ด้วย หลายคนมองว่าการทำแบบนี้ไม่ใช่เรื่องจำเป็นเลยที่เอากล้องไปฝังในอุปกรณ์เสริมแทน การใช้งานจริงอาจจะไม่สะดวกเท่ากล้องหน้า เพราะทุกครั้งที่เราจะใช้งานก็ต้องดึงปากกาออกมา ถ่ายเสร็จก็เสียบกลับเข้าไป อันนี้ก็ต้องมารอดูว่าเค้าจะแก้ปัญหานี้ได้ยังไง

นอกจากนั้นทางซัมซุงเองก็มีการอ้างอิงว่าสิทธิบัตรฉบับนี้อาจจะนำไปใช้กับโน้ตบุ๊คและจอคอมพิวเตอร์ ด้วยการสร้างช่องเสียบ S-Pen เข้าไป ตัวสิทธิบัตรฉบับนี้จดเมื่อเดือนกุมภาพันธ์ปี 2017 ซึ่งก็ผ่านมา 2 ปีแล้ว ส่วนจะได้ใช้งานจริงเมื่อไหร่นั้นก็ขึ้นอยู่กับทางซัมซุงแล้วล่ะว่าจะพร้อมเมื่อไหร่

VIA AndroidPolice