เปิดตัว Galaxy Fold สมาร์ทโฟนพับได้ของซัมซุง เน้นทำงานไร้รอยต่อ
เปิดตัว Galaxy Fold สมาร์ทโฟนพับได้ของซัมซุง สเปคเครื่องจัดเต็ม ด้วยสองหน้าจอด้านในและด้านนอก เน้นทำงานร่วมกันไร้รอยต่อเรียกว่าเปิดงานด้วย Gala…
เปิดตัว Galaxy Fold สมาร์ทโฟนพับได้ของซัมซุง สเปคเครื่องจัดเต็ม ด้วยสองหน้าจอด้านในและด้านนอก เน้นทำงานร่วมกันไร้รอยต่อเรียกว่าเปิดงานด้วย Gala…
ค่าย Xiaomi ออกแถลงการณ์แสดงความชัดเจน ต้องการโชว์นวัตกรรมล่าสุด ผ่านสมาร์ทโฟนจอพับได้ พร้อมยืนยันพับใช้งานได้ 3 รูปแบบXiaomi ได้ออกแถลงการณ์ บ…
Samsung วางแผนเปิดตัว Galaxy S10 และสมาร์ทโฟนพับได้รุ่นแรกในงาน Unpacked ในวันที่ 20 กุมภาพันธ์นี้ มีข่าวว่าราคาของรุ่นพับได้นั้นจะแพงกว่าเป็นเท่าตัวเล…
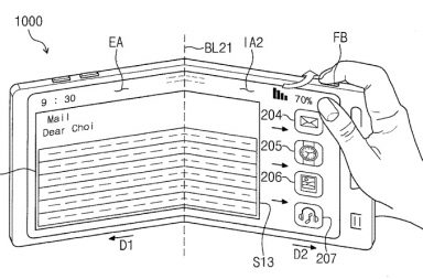
ดูเหมือนว่าปีนี้ Samsung จะมีสมาร์ทโฟนใหม่สร้างความฮือฮาให้ตลาดด้วย Galaxy F มือถือจอพับได้ ล่าสุดมีสิทธิบัตรมือถือสุดล้ำ 2 หน้าจอ ติดกันด้วยแม่เหล็กทำ…
ใครที่ติดตามข่าว Galaxy X ของซัมซุงตอนนี้มีข่าวว่าอาจจะเปิดตัวในงาน MWC 2019 โดยจุดเด่นอยู่ที่การใช้ประโยชน์จากจอ OLED ยืดหยุ่นอย่างเต็มที่ …
หัวหน้าวิศวกรแห่ง Samsung Display บอกว่า มือถือจอม้วนได้อาจจะยังไม่ขายจริงจนกว่าจะถึงปี 2019 เนื่องจากมือถือแบบไร้ขอบจะขายดี ในขณะที่จอยืดหยุ่นยังมีปัญ…
มือถืองอได้ใกล้จะเป็นจริงขึ้นทุกที หลังจากที่ Portal เริ่มระดมทุนในเว็บแล้ว ส่วนการเคลื่อนไหวจากค่ายใหญ่ๆอย่าง Samsung ก็ประกาศชัดปีหน้ามาแน่แม…
จบไปแล้วกับงาน CES 2014 แต่ยังมีอีกหลายการประชุมเกิดขึ้นหลังงานเลิกสำหรับโชว์เทคโนโลยีให้เหล่าผู้บริหาร, นักลงทุนและแขกวีไอพีดู จากการรายงานของ ETNews …