ใครที่เป็นแฟนของค่าย CANON ตอนนี้เขาซุ่มพัฒนาผลิตภัณฑ์ใหม่ ด้วยการจดสิทธิบัตรไม้กันสั่นที่สามารถเปลี่ยนเลนส์ได้

ตอนนี้ไม้กันสั่นเรียกว่าเป็นอุปกรณ์จำเป็น ในกรณีที่เราอยากถ่ายวิดีโอให้นิ่งขึ้น แต่หลายๆแบรนด์ในตลาดนั้นจะต้องซื้อกล้องกับไม้กันสั่นแยกกัน ทาง CANON จึงแก้ปัญหานี้ด้วยการพัฒนาไม้กันสั่นที่สามารถเปลี่ยนเลนส์ได้ตามความต้องการใช้งาน

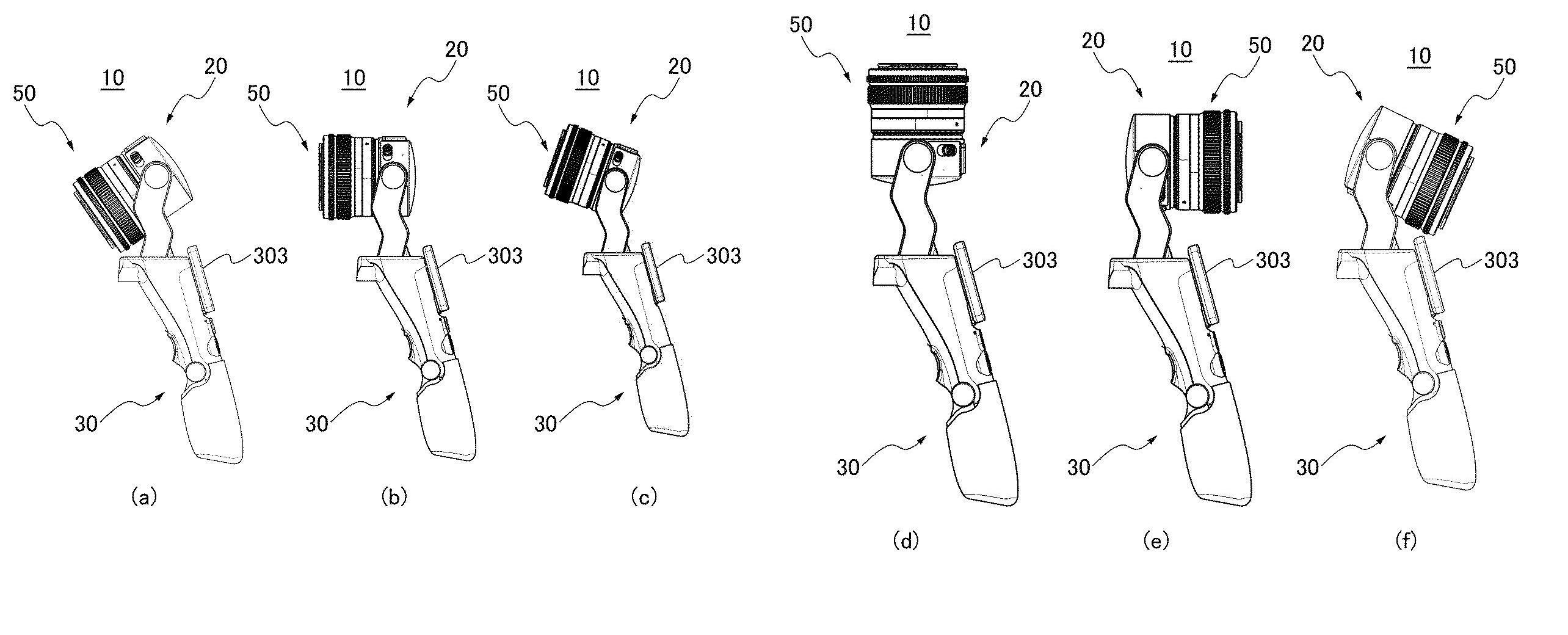
ทางเว็บ CANON News ได้ค้นพบสิทธิบัตรที่ทาง CANON ได้ทำการจดไว้ เปิดเผยให้เห็นว่ากำลังซุ่มพัฒนาไม้กันสั่นที่มาพร้อมกับกล้องในตัว ซึ่งแนวคิดก็คล้าย OSMO Pocket ของ DJI ตัวด้ามจับมาพร้อมกับปุ่มควบคุมการทำงานและมีจอ LCD ขนาดเล็กสำหรับใช้เป็นช่องมองภาพ

แต่สิ่งที่แตกต่างก็คือเรื่องของขนาดที่ใหญ่กว่า และเลนส์ที่สามารถถอดเปลี่ยนได้เพื่อให้เหมาะสมกับสิ่งที่ต้องการถ่าย นั่นหมายความว่า เราสามารถเลือกเปลี่ยนเลนส์ได้หลายระยะ หลายช่วง หากต้องการโบเก้สวยๆก็ใช้เลนส์ฟิกซ์ที่รูรับแสงกว้าง หากอยากได้ภาพมุมกว้างก็เปลี่ยนไปใช้เลนส์ไวด์ เป็นต้น คาดว่าเม้าส์ที่รองรับจะเป็นเลนส์ตระกูล EOS-M สำหรับใช้กับกล้องมิลเลอร์เลสที่มีขนาดเล็กและเบา แน่นอนว่าข้อจำกัดของระบบนี้ก็คือตัวไม้อาจจะไม่รองรับเลนส์ที่มีขนาดใหญ่และน้ำหนักมาก เพราะอาจจะทำให้มอเตอร์เสียหายได้

ใครที่สนใจก็ต้องมารอดูว่าทาง CANON จะพัฒนาออกมาขายจริงได้เมื่อไหร่

ที่มา canonnews