ความสามารถในการสแกนลายนิ้วมือจะไม่ได้อยู่แค่ในมือถืออีกต่อไป กล้องถ่ายรูปและเลนส์ก็จะมีการอัพเกรดใส่ฟีเจอร์นี้เข้าไปเพื่อช่วยเพิ่มความปลอดภัย

Canon
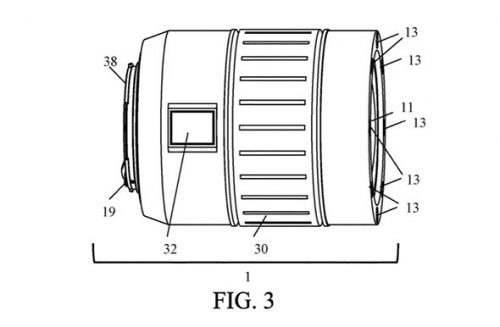
ล่าสุดมีการค้นพบสิทธิบัตรของ Canon แสดงให้เห็นว่าต่อไปจะมีการฝังเซนเซอร์สแกนลายนิ้วมือเอาไว้ที่ทั้งตัวกล้องและเลนส์เพื่อเพิ่มความปลอดภัยในการใช้งาน เริ่มตั้งแต่ปกป้องความเป็นส่วนตัวไม่ให้คนอื่นมาเปิดกล้องดูรูปที่ถ่ายเอาไว้ อีกเรื่องก็คือใช้ในการปลดล็อคใช้งานซึ่งเมื่อผูกกับลายนิ้วมือ เหล่าหัวขโมยก็จะมีแรงจูงใจในการขโมยกล้องและเลนส์น้อยลง
สิทธิบัตรนี้จดที่อเมริกา ถูกค้นพบโดย Northlight Images นอกจากใช้งานด้านความปลอดภัยแล้ว เซนเซอร์สแกนลายนิ้วมือนี้ยังสามารถปรับแต่งการทำงานให้กลายเป็นปุ่ม Custom Function ที่เราใช้งานเป็นประจำ อย่างเช่น ใช้ควบคุม autofocus, image stabilization หรือฟังก์ชั่อื่นๆที่ต้องการ เพียงแค่สแกนนิ้วก็เรียกใช้งานได้อย่างรวดเร็ว

ในส่วนของความปลอดภัยนั้น เซนเซอร์นี้จะถูกใช้ในการล็อคกล้อง แถมสามารถลงทะเบียนลายนิ้วมือสร้างโปรไฟล์ผู้ใช้หลายคนได้ในเครื่องเดียว สำหรับใช้งานหลายคนร่วมกัน อย่างคนในครอบครัวหรือบริษัท ส่วนใครที่ไม่ลงทะเบียนไว้จะไม่สามารถปลดล็อคใช้งานได้เลย
เรียกว่าเป็นไอเดียที่น่าสนใจทีเดียวก็ต้องมารอดูว่าทาง Canon จะเริ่มเอาเทคโนโลยีนี้มาใช้เมื่อไหร่
VIA Dpreview